Logo
Explore Knowledge base
univer-6th-semester/software-testing
Code Actions Releases 4
Files
main
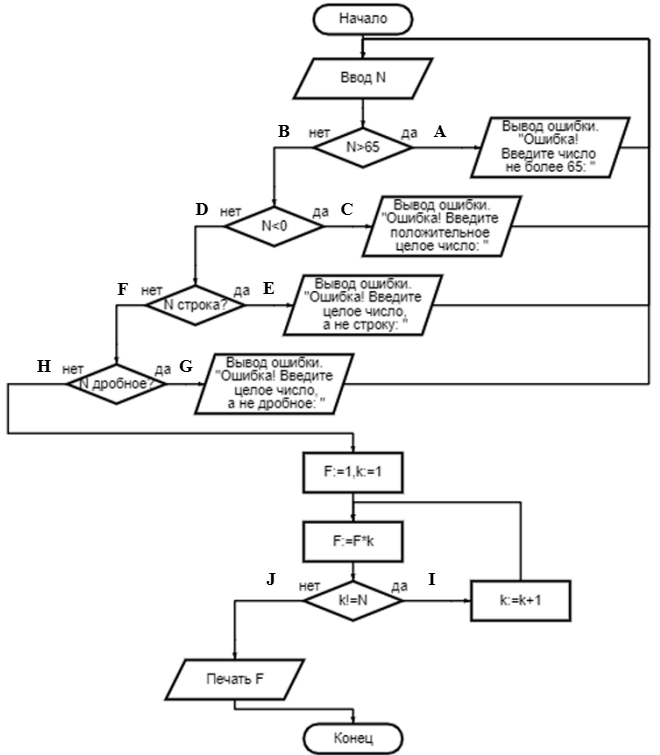
software-testing/lab2/img/programm1/block-schema-1.png
Arity-T 4800f11a7e Первая прога (Спасибо Владу Гаару ;))
2025-04-08 18:39:26 +03:00

243 KiB
660x755px
Raw Permalink History

/univer-6th-semester/software-testing/raw/branch/main/lab2/img/programm1/block-schema-1.png